ドローン搭載スプレーによる現場革新、安全と効率の両立を実現

株式会社ドローンネット(本社:東京都千代田区平河町1‑3‑12、代表取締役社長:村上一幸)は、スプレー装置の操作機構を無線化した新技術「遠距離操作スプレー」(特許第6851442号)に関する特許を正式に取得し、当技術を活用したドローン搭載型スプレーユニットの社会実装および商用展開を開始したことをお知らせいたします。
本技術は、噴霧装置と操作部を分離し、遠隔から無線でスプレー操作を行える仕組みにより、従来では困難だった高所や危険区域での安全かつ正確な噴霧作業を可能にします。ドローンに搭載することで、あらゆる現場の作業効率・安全性を大きく向上させる革新的なソリューションとして注目されています。
■ 特許技術の構造と強み
遠距離操作スプレーは以下のような構造的特長を備えています:
・スプレー本体に電子制御基板・駆動装置・ノズルを内蔵
・トリガー操作信号を無線で送信し、離れた場所から噴霧を制御
・遮蔽された空間、高所、隔離区域などでも遠隔操作が可能
・複数台の一括制御や順次制御にも対応可能な柔軟性
・既存スプレー装置への後付け拡張(アドオン)も視野に設計
この技術により、作業者の安全確保だけでなく、省人化、作業時間の短縮、広域対応といった多面的なメリットが期待できます。

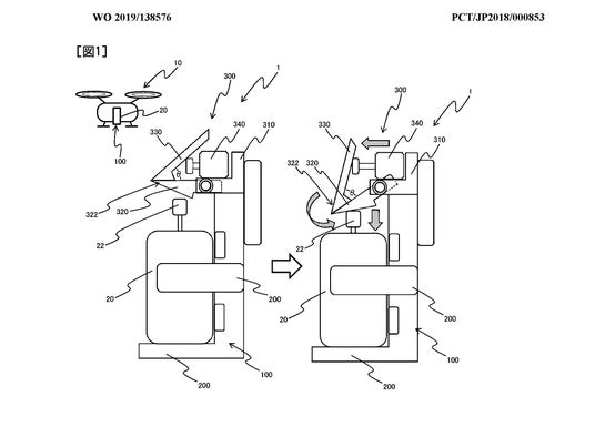
遠距離操作スプレーの構成図(特許図面より)
■ 実用展開と活用可能な現場領域
ドローンに本特許技術を組み込むことで、従来の人力作業では対応が難しかった以下の分野で実用が期待されています:
・災害対応:立ち入り不能エリアでの消火剤・消毒液の噴霧
・建設・インフラ保守:橋梁、法面、トンネル等への塗布や補修
・農業・環境管理:山間部・河川敷での除草や害虫駆除処理
・公共衛生:都市インフラや交通施設の衛生管理・防疫作業
弊社では本技術を応用した軽量・高精度なスプレーユニットの自社開発を推進しており、自治体や企業、研究機関と連携した導入検証も進行中です。
■ 国際展開への取り組み
当該技術は国際的な重要性と応用可能性が高いため、株式会社ドローンネットは以下の国および地域において国際特許出願を進めています。
【出願中の国・地域一覧】
- アメリカ合衆国(US)
- 欧州連合(EPC:欧州特許条約)
- 中国(CN)
- 韓国(KR)
- インド(IN)
- インドネシア(ID)
- タイ(TH)
- フィリピン(PH)
- ベトナム(VN)
- シンガポール(SG)
- オーストラリア(AU)
- アフリカ広域(OAPI加盟国:カメルーン、ベナン、ブルキナファソ、チャド、コンゴ共和国、ギニア、マリなど)
これらの国々はいずれも、ドローンの産業応用において成長著しい地域であり、本技術の導入によって国際的な課題解決に貢献できると考えています。
■ 社会的意義と今後の展望
ドローンの利活用は、災害対策・インフラ点検・農業支援・防疫対策など多くの現場に広がりつつありますが、その中でも「人が行けない場所」「人が行かない方が良い場所」での作業効率化と安全確保は喫緊の課題です。
ドローンネットは、「ドローンで世界中の人を笑顔に」というビジョンのもと、本特許技術を核とした新しい作業ソリューションの社会実装に取り組み、持続可能な産業と安心・安全な社会づくりに貢献してまいります。

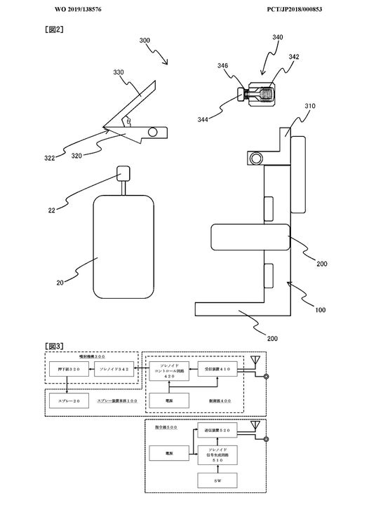
遠隔トリガー機構および通信制御構造の概念図(特許図面より)
■ 会社概要
株式会社ドローンネット(DRONE NET Inc.)
設立:2017年3月
代表者:代表取締役社長 村上一幸
本社所在地:東京都千代田区平河町1‑3‑12
資本金:約3.23億円(資本準備金含む)
従業員数:約40名
事業内容:ドローンの企画・製造・販売/パイロット育成/教育・ITコンテンツ/イベント・レース等